


Published on Nov 30, 2023
Fatal Road accidents can be easily avoided by understanding the psychological state of drivers. Majority of the road accidents occur during driving due to the drowsiness state of vehicle drivers. This paper provides head movement that alerts the subject during the state of drowsiness. An embedded system based on psychological state of the subject by monitoring head movements is useful in warning drivers during initial sleep cycle phase of drowsiness. The physiological sleep state analysis of the subject can be determined by monitoring head movement using an accelerometer. If he/she falls asleep, then an alarm will ring to wake him/her up. An Internet of Things (IOT) enabled sensors are used to transmit the entire data collected by sensors over a smart grid network for quick response team to take actions under emergency conditions.
Masahiro Miyaji, presented a paper “Method of Drowsy State Detection for Driver Monitoring Function” [2]. This paper is based on Driver’s psychosomatic state adaptive driving support safety system is highly expected to reduce the number of traffic accidents. Drowsiness is thought as crucial risk factor which may result in severer traffic accidents. When a driver is fallen in a drowsy state, it influence may appear in fluctuating of heart beat and eye movement. Heart rate was acquired from Electrocardiogram (ECG). Then heart rate variability (HRV) was calculated from ECG waveform using the maximum entropy method. CCD camera with infrared ray was introduced to capture gaze direction and eyelid closure. This study took a hypothesis that simultaneous measurement of both heart rate variability (HRV) and blinking duration may be useful means to detect onset of drowsiness in real time. The method to estimate onset of drowsiness was proposed, which function may be incorporated into driver’s psychosomatic state adoptive driving support safety system for the reduction of traffic accidents.
This project prototyped is aimed to design & implement uniquely identifiable embedded computing devices within existing internet infrastructure for night vehicle drivers to locate and prevent road accident caused due to drowsiness.
The objectives of proposed model are summarized below:
Establish a head movement monitoring sensor system for Drowsiness detection.
In case of drowsiness detected alert the driver via a wake call (vibration /Buzzer)
Mediate the Sensor information and locate accident location using GPRS for help and rescue.
Display the activities of designed system on LCD display.

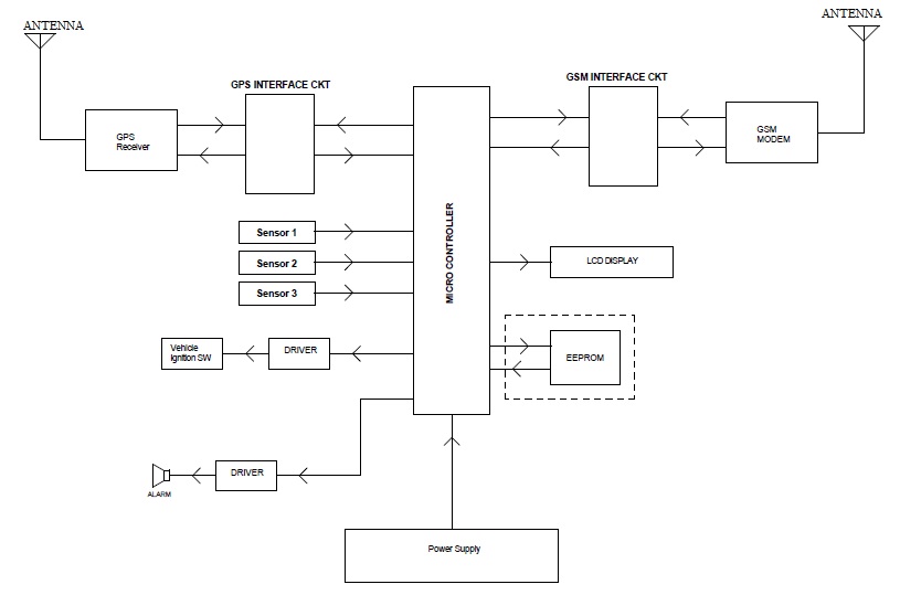
The process of working of above block diagram is explained as follows.
This project involves measurement of head movement using accelerometer which is placed on driver fore-head. It measures tilt angle of the drivers in vertical either forward or backward direction and left or right direction. If tilting angle exceeds certain threshold range, this output is given to logic circuit to indicate the alarm and status is displayed on LCD.
The Block diagram of proposed prototype consists of the following Components:
LCD display, PIC microcontroller, GPS, GSM, alcohol sensor, MEMS sensor, Power supply, Limit switch, MAX 232, Relay, RS232
The head movement of the driver is detected by the MEMS sensor and it sends a message to the registered mobile number saying drowsiness detected.
The limit switch detects the occurrence of an accident due to crash and sends the message to the registered mobile number.
During emergency conditions, when the driver is not able to operate his mobile he can indicate his state by pressing an emergency switch.
When the driver is drunk, SMS is sent to registered number
In all the four cases a SMS with the location of the vehicle is sent to the registered mobile number.
1. The methodology aims at preventing accident before it‘s occurrence hence, increases the safety of both person driving the vehicle and other people on roads.
2. Involvement of Cloud computing reduces the load on satellite services (GPS and GSM) and are easily implementable
3. Assists emergency services and quick response teams to take quick action in case of occurrence.
4. Enables implementation of effective safety regulations for four-wheel drive on roads at both day and night.
5. User friendly interface enable it‘s easy usage by vehicle drivers.
6. Gravity sensors prevents over speeding of vehicles and maintains vehicle stability.
7. Fast growth in Smart grid and cloud services makes it effective and easy implementation
1. The device requires an active internet connection.
2. For implementation over a smart grid network, security issues such as terror attacks aimed at disrupting emergency services are yet to be resolved.
3. Diverse applications call for different deployment scenarios and requirement are needed , which, are usually proprietary i.e IOT technology is very new with less application based companies that grew very fast over a span of two years.
4. Prominent standardization bodies, such as the IETF, IPSO Alliance and ETSI, are required on developing protocols, systems, architectures and frameworks to enable the IOT
1. Solution for Night drivers to wake them from drowsiness caused due to sleeplessness.
2. Prevention of Accident caused due to Substance abuse ( Alcohol, Drugs, etc)
3. Solution for rash driving by automatically controlling the vehicle speed
4. Vehicle stability by maintain a better wheel grip through gravity sensors.
5. Tracking and locating the location of accident using GPS and plotting it on Google maps
The following future enhancement can be made into proposed system by devising software algorithms, hardware implantations and interfacing sensors
1. Solutions for emergency speed control of vehicles.
2. Solution for rash driving by obstructing spark-plug.
3. Solution for wheel grip using gravity sensor.
4. Voice based real time advice for drivers by their loved ones when they are over-drunk or rash-driving.
Majority of portable devices are aimed at providing unlimited access to internet services for data storage and synchronization with other remote devices. Hence, there is a need of faster data acquisition and quick decision making of embedded computing system for real time applications for making vehicles safe, automatic, responsive and intelligent. Interfacing of simple sensors to various micro-controller platforms enables the ease of regulating the embedded system at sophisticated levels of automation and mediating the sensor information over a smart grid enables large amount of data acquisition for taking accurate decisions over the emergency conditions. Further, the development of smart grids fascinates the overall process of communication between human and machine rather than machine to machine communication. Hence, IoT can revolutionize the way embedded systems interact and respond for variety of applications especially in case of vulnerable night drivers by monitoring the state of their drowsiness for a quick, safe and effective response for a safer road travel.
1. EFFECTIVE CONTROL OF ACCIDENTS USING ROUTING AND TRACKINGSYSTEM WITH INTEGRATED NETWORK OF SENSORS (2013)Authors: R. MANOJ KUMAR, DR.R. SENTHIL DEPARTMENT OF ELECTRONICS AND INSTRUMENTATION, PANIMALAR ENGINEERING COLLEGE, ANNA UNIVERSITY , International Journal of Advancements in Research & Technology, Volume 2, Issue4, April-2013 69ISSN 2278-7763
2. The Research on Fatigue Driving Detection Algorithm( 2013) Authors: Zhui Lin, Lide Wang, Jieqiong Zhou, Tao Wang, School of Electrical Engineering, Beijing Jiaotong University, Beijing, China
3. Distraction Detection and Mitigation Through Driver Feedback (2013 A REAL TIME SYSTEM FOR DETECTING DROWSINESS OF DRIVER (2013) Authors: Puja Authors: John D. Lee, Jane Moeckli, Timothy L. Brown, Shannon C. Roberts, Chris Schwarz, Lora Yekhshatyan, Eric Nadler, Yulan Liang, Trent Victor, Dawn Marshall, Claire Davis, DOT HS 811 547A
4. Malvadkar, Bhavana Pansar e& Sachin Pansar International Journal of Management, InformationTechnology and Engineering (BEST: IJMITE) Vol. 1, Issue 1, Oct 2013