


Published on Nov 30, 2023
The Continuously increasing demand of the food necessitates the rapid improvement in food production technology. In most of the developing countries, the national economy mainly depends on the Agriculture. But these countries do not able to make proper use of agricultural resources due to the high dependency on rain. Nowadays different irrigation systems are used to reduce the dependency of the rain and mostly the existing irrigation systems are driven by electrical power and manually ON or OFF scheduling controlled. The proposed system is usually designed for ensuring the proper level of water for growing up the plants all through the season. In addition, it provides maximum water usage efficiency by monitoring soil moistures at optimum level and it saves the electrical energy by turning off the motor when there is no water in the pump. The traditional methods are not efficient in controlling the illegal entry and it requires more labour work and time etc.
So we need an innovative superior method which requires low maintenance, ease of installation and require ideally no man power to monitor, thus making it more effective and efficient. In this propose system that enables an individual to secure and surveillance the agriculture field in real time. The designed system is capable of detecting passages and providing early warning regarding intrusion by using laser fence. This system also sends the warning SMS to farmer when the motor is lifted out from the pump. The pests like insects, ant, rats, mice etc. are repelled by ultrasonic frequency in the range of 30 kHz to 50 kHz. Human being can’t hear these high frequency sounds our system repels pests by emitting pulse ultrasonic waves. Using ultrasonic waves creates noisy and hostile environment which repels pests, whilst remaining absolutely safe for humans and household animals.
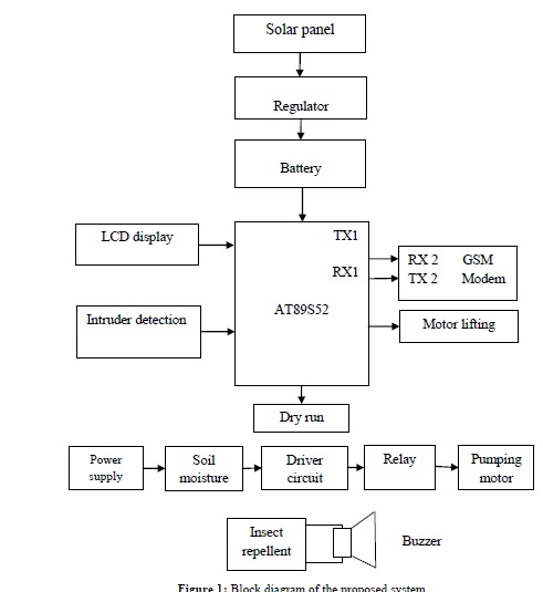
The main aim of the project is to design the smart agriculture system to meet the increasing demand of energy in field of agriculture using solar energy for farmers. Agriculture plays a crucial role in the economy of a country. The inclusion of automation in the field of agriculture makes the farmer lives easier. The application of automatic irrigation system requires large amount of electric power. The subsidies paid for the power consumption by agriculture is less. So, in order to reduce the consumption of power from main grid, solar energy system is implemented in the agriculture land. It has additional features like detecting the moisture level in the soil to supply required amount of water for the crops, detection of intruders to the land during the night time, motor lifting, dry run and insect repellent.
In the proposed system solar panel is used to absorb light energy from the sun and to convert it in to electrical energy required for the irrigation. The converted electrical energy is stored in DC battery which is used to pump the water for irrigation system.
The intruder detector is interfaced to a microcontroller to notice the unauthorized entry in the field. The loss of crops can be reduced by destroying the insects and pests using insect repellent.

The LDR sensor is interfaced to the microcontroller to notice the unauthorized entry in the field and a laser light is used for the intruder detection. Whenever the laser beam breaks LDR sensor sends the information of intruder in the field to the land owner.
In case of theft of the motor and drain run of the motor are informed to farmer by the GSM interfaced to the microcontroller.
By implementing the proposed system there are various benefits for the government and the farmers.


IOT can be used in the system for continuous monitoring by the farmer.
Cloud computing technology can be added for making farmers to advise each other and discuss with each other on how exactly they could improve the growth of their crops.
For the government a solution for energy crisis is proposes. By using the solar powered smart agriculture system it optimizes the usage of water by reducing wastage and reduces the human intervention for farmers.In this paper, an automated irrigation model is proposed and successfully implemented using different circuits as demonstrated in different figures. The system is implemented by considering low cost, reliability, alternate source of electric power and automatic control. As the proposed model is automatically controlled it will help the farmers to properly irrigate their fields. The model always ensures the sufficient level of water in the field avoiding the under-irrigation and over-irrigation. Solar power provides sufficient amount of power to drive the system. To overcome the necessity of electricity and ease the irrigation system for our farmers, the propose model can be a suitable alternative.
[1] K.Lakshmisudha, Swathi Hegde, Neha Kale, Shruti Iyer, “ Smart Precision Based Agriculture Using Sensors”, International Journal of Computer Applications (0975- 8887), Volume 146-No.11, July 2011
[2] Nikesh Gondchawar, Dr. R.S.Kawitkar, “IoT Based Smart Agriculture”, International Journal of Advanced Research in Computer and Communication Engineering (IJARCCE), Vol.5, Issue 6, June 2016.